- 856208 wspornik do Tesla Y Juniper 2025-2026 do instalacji na desce rozdzielczej. Montaż centralny.
- • Zapewnia idealną platformę montażową.
- • Bezpieczne umiejscowienie w zasięgu ręki.
- • Brak dziur lub uszkodzeń deski rozdzielczej.
856208 wspornik montażowy do Tesla Y Juniper 2025-2026 do instalacji na desce rozdzielczej. Montaż centralny.
Masz dosyć szukania swojego telefonu podczas jazdy? A może poszukujesz rozwiązania, które pozwoli Ci na swobodne korzystanie z nawigacji GPS w trakcie podróżowania? Baza montażowa ProClip stworzona przez firmę Brodit jest właśnie tym, czego potrzebujesz!
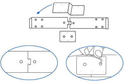
ProClip to specjalistyczna podstawa montażowa przeznaczona do użytku w Twoim samochodzie. ProClip wpinany jest w fabryczne szczeliny deski rozdzielczej auta, tworząc w ten sposób miejsce, na którym możesz zainstalować dowolny uchwyt samochodowy Brodit. Każdy ProClip jest dedykowany do konkretnego modelu i rocznika auta. Montaż zawsze jest łatwy i co za tym idzie możesz go przeprowadzić samodzielnie. Twój samochód nie ucierpi w żaden sposób, ponieważ montaż jest bezinwazyjny. Jest to szczególnie istotne, gdy będziesz sprzedawał auto – po zdemontowaniu mocowania ProClip na desce rozdzielczej nie pozostanie po nim żaden ślad - samochód nie straci na wartości, a Ty zaoszczędzisz pieniądze!
Podstawa montażowa ProClip skonstruowana jest tak, abyś mógł przymocować do niej uchwyt samochodowy Brodit. Uchwyt możesz dobrać do wielu, różnych urządzeń np. smartfona, telefonu komórkowego, tabletu, nawigacji GPS, taksometru i wielu innych. Miejsca montażu są dobrane przez producenta tak, aby mocowanie było stabilne i pozwalało na swobodny dostęp do przycisków na desce rozdzielczej. Brodit zadbał także o Twoje bezpieczeństwo – rozwiązania montażowe oferowane przez firmę mogą być dobrane tak, aby korzystanie z telefonu czy nawigacji GPS podczas jazdy, nie skutkowało odwróceniem uwagi od prowadzenia pojazdu.
Ponieważ podstawa montażowa jest stworzona do mocowania jej wyłącznie w konkretnym modelu samochodu, daje Ci to pewność, że cała konstrukcja wraz z uchwytem i Twoim urządzeniem, będzie stabilna, nawet w obliczu najcięższych warunków drogowych, niwelując skutki wszelkich drgań i wstrząsów. Co za tym idzie, możesz korzystać ze swojego telefonu przy zachowaniu pełnego komfortu.
Baza montażowa ProClip wykonana jest z wysokiej jakości tworzywa sztucznego ABS, dzięki czemu jest bardzo wytrzymała i będzie Ci służyła latami, a w obliczu kolizji NIE POŁAMIE się na ostre, niebezpieczne kawałki. Subtelny wygląd ProClip’u oraz jego neutralny kolor, w którym jest wykonany, będzie się świetnie komponował z wnętrzem Twojego samochodu, utrzymując walory estetyczne auta na najwyższym poziomie. ProClip produkowany jest w Szwecji przez firmę Brodit AB – wykonawcę uchwytów samochodowych, który posiada ponad 30-letnie doświadczenie. Produkty objęte są 5-letnią gwarancją.
Do każdego mocowania dołączona jest instrukcja, zawierająca zdjęcia i porady dotyczące instalacji bazy, dzięki czemu jesteś w stanie zrobić to sam. Montaż nie wymaga wizyty w warsztacie, ani użycia specjalistycznych narzędzi, a Ty oszczędzasz czas i pieniądze.

Cechy produktu:
- Bezinwazyjny montaż – nie zostawia śladów na desce rozdzielczej samochodu.
- Dedykowany do konkretnego modelu i rocznika auta – mocowanie jest wytrzymałe, stabilne i odporne na wstrząsy.
- Wykonany z tworzywa ABS – podstawa montażowa wytrzymuje najtrudniejsze warunki drogowe i posłuży przez długie lata.
- Subtelny design – nie wpływa negatywnie na estetykę samochodu.
- 5 lat gwarancji – zapewnia zadowolenie z użytkowania ProClip’u.
- W komplecie instrukcja zawierająca zdjęcia i porady dotyczące montażu – pozwala zamontować ProClip samodzielnie, bez użycia jakichkolwiek specjalistycznych narzędzi.
- Podstawy montażowe ProClip produkowane są w Szwecji przez renomowaną firmę Brodit AB.
Przed montażem ProClip'u zapoznaj się z wszystkimi instrukcjami oraz zdjęciami.
Zamontuj swój uchwyt do urządzenia na ProClip’ie samochodowym!

Kompletne rozwiązanie składa się z dwóch elementów: wspornika montażowego ProClip oraz uchwytu Brodit dedykowanego do urządzenia mobilnego (należy zakupić oddzielnie). Uchwyt samochodowy do Twojego urządzenia znajduje się w naszej ofercie. Baza montażowa ProClip jest uniwersalna, dlatego dowolny wybrany przez Ciebie uchwyt Brodit będzie do niej pasował.














